![]() |
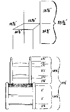
| Figure 16 Dimensional diagram of the chair illustrated in fig. 15. (Courtesy, New Haven Colony Historical Society; reproduced from an illustration in Robert F. Trent, Hearts and Crowns: Folk Chairs of the Connecticut Coast, 1720–1840 [New Haven, Conn.: New Haven Colony Historical Society, 1977], p. 73.) |